ag九游会创始人简介主营自动ag九游会网点、农业ag九游会网点、土壤墒情站等智慧农业设备,欢迎您的访问!

13910526419

全国咨询热线:

公司logo
ag九游会网点banner
联系我们
服务热线
13910526419
地址:北京市昌平区回龙观镇龙祥制版集团二号院三号楼206室

雨雪传感器

盟创伟业科技从事雨量传感器,雪量传感器设备的研发和销售,该传感器可通过表面栅形电极感应外界雨雪情况,检测当前环境是否有雨雪.相关雨雪传感器型号,价格,厂家等信息请直接电话......
咨询热线:13910526419
产品介绍

MC-YX型雨雪传感器 

1

概述

 雨雪传感器利用雨水的导电特性,采用表面栅形电极感应外界雨雪情况,检测是否有雨雪,内部采用智能微处理器,内置自动加热装置可排除雨雪附着的干扰,保障系统的正常运行。继电器为一组常开、一组常闭,方便安装使用。


雨雪传感器图片2


2

雨雪传感器特点

 1、体积小,安装方便

 2、结构设计合理

 

3

适用范围

 适用于实现对雨雪有无的测量,可广泛用于气象、海洋、环境、机场、港口、实验室、工农业及交通等领域的雨雪有无定性测量

 

4

外形规格

雨雪传感器尺寸

     

 

5

技术参数

供电电压:12~24V DC

输出信号:继电器,常开(标配),另可选配常闭   RS485

工作电流:10mA@12V(非加热)    1A@12V(加热)

加热方式:自动

负载能力:AC  220V  1A        DC  24V  2A

电缆长度:2米四线制(标配)


6

接线方式

RS485的接线方式:


  红色:电源正极         

  黑色:电源负极       

  绿色:信号A           

  黄色:信号B


注意:接线时一定要小心,如果电源电压过高或极性接反,将造成传感器的永久性损坏

RS485协议报文

   修改地址,例如:将地址为01的传感器改地址为02,主机→从机


原地址

功能码

预留1

预留2

预留3

新地址

CRC16

CRC16

01

06

00

00

00

02

08

0B

  若传感器接收正确,原样返回

  如果忘记传感器的地址,可以使用广播地址FE来更改,主机→从机

广播地址

功能码

预留1

预留2

预留3

新地址

CRC16

CRC16

FE

06

00

00

00

01

5C

05

  若雨雪传感器接收正确,则原样返回

注:使用广播地址FE时主机在同一时间只能接一个从机

 

三、查询数据

  查询传感器(地址为01)的数据,主机从机

地址

功能码

起始寄存器地址高

起始寄存器地址低

寄存器长度高

寄存器长度低

CRC16

CRC16

01

03

00

00

00

01

84

0A

  若传感器接收正确,返回以下数据,从机主机

 

地址

功能码

数据长度

寄存器0数据

寄存器0数据

CRC16

CRC16

01

03

02

00

01

79

84




降雨雪状态:01表示有,00表示无



  数据表示方法:数据寄存器数据低显示:01表示有雨或者雪,00表示无雨雪。

 

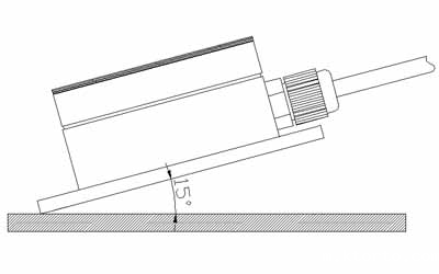
7

雨雪传感器安装方式

 

  安装时,应保持传感器感应面与水平面成15度夹角,以防雨、雪的堆积对传感器测量造成影响。

雨雪传感器图片3

 

8

维护和保养

  雨雪传感器是具有优良设计和功能原理的科技产品,应注意维护和保养。下列建议将帮助您有效使用保养服务。

  1.   1、避免仪器被刮划,保持外部保护膜完整性,增加仪器使用寿命。

  2.   2、粗暴地对待仪器会毁坏内部电路板及精密的结构。

  3.   3、使用清洁、干燥的软布清洁仪器外部。


    雨雪传感器图片4


 

9

产品保修

 

  本产品保修期为一年。从发货之日算起,十二个月内,因传感器质量问题(非人为损坏)而引起的故障,本公司负责免费维修或更换,超过保修期后只收成本费。


公司官网://m.ktorto.com
服务热线:13910526419 宋学文
公司地址:北京市昌平区回龙观镇龙祥制版集团二号院三号楼206室
Copyright © 2002-2022 版权所有备案号:京ICP备09063548号-5

ag九游会网点厂家微信
客服中心
在线留言  任克良
手机:

13261994018

(微信同号)

  区域:
新疆、陕西、黑龙江、吉林、天津、宁夏、贵州、广西
在线留言  刘海生
手机:

15011294641

(微信同号)

  区域:
江苏、四川、青海、湖南、江西、甘肃、上海、云南、西藏
在线留言  赵雅双
手机:

13439506753

(微信同号)

  区域:
辽宁、河北、内蒙古、河南、山东、山西、广东、浙江
在线留言  宋学文
手机:

13910526419

    

(微信同号)

区域:安徽、湖北、重庆、福建、北京
 24小时服务热线:  

(微信同号)

 

13910526419

 技术支持:  

13439506753

 邮箱:  bj6213@126.com  节假日不休息
Baidu
map